| Общая информация » Каталог студенческих работ » ТЕХНИЧЕСКИЕ ДИСЦИПЛИНЫ » Гидравлика |
| 23.01.2026, 18:31 | |||||||||||||||||||||||||||||||||||||||||||||||||||||||||||||||||||||||||||||||||||||||||||||||
Студент выполняет контрольные работы по индивидуальному заданию. Номера задач контрольных работ устанавливаются в зависимости от сочетания букв в его фамилии. Номер первой задачи устанавливается по первой букве фамилии студента, второй задачи по второй букве и т. д. Если фамилия студента содержит менее восьми букв, номера последующих задач устанавливаются по последней букве фамилии. Номера задач по первой контрольной работе приведены в табл. 1, а по второй – в табл. 2. Таблица 1
Все расчеты должны сопровождаться краткими, но исчерпывающими пояснениями их последовательности с приведением расчетных формул (без вывода) и расшифровкой обозначения величин, входящих в них. При получении числовых величин необходимо указывать их размерность. Таблица 2
КОНТРОЛЬНЫЕ ЗАДАНИЯ ЗАДАНИЕ 1 Задача 1. Давление в резервуаре, заполненном бензином, p1 = 6·105 Па. При выпуске из резервуара 80 л бензина давление упало до p2 = 2·105 Па. Определить начальную емкость резервуара, если коэффициент объемного сжатия бензина βp = 0,74·10-9 м2/Н. Задача 2. При внезапном закрытии задвижки, установленной в конце напорного трубопровода длиной l = 400 м и диаметром d = 250 мм, давление, измеренное манометром, увеличилось на Δp = 1,4·105 Па. Пренебрегая деформацией стенок трубопровода, определить объем воды, поступившей в трубопровод в момент закрытия задвижки. Модуль упругости воды Е = 2,1·109 Па. Задача 3. Установить, как изменится уровень нефти в вертикальном цилиндрическом резервуаре диаметром D = 4,2 м при повышении ее температуры от 250 до 330 К. Вес нефти, хранящейся в резервуаре, G = 5·105 Н. Плотность нефти ρн = 870 кг/м3. Коэффициент температурного расширения βt = 0,00068 1/К. Расширением резервуара пренебречь. Задача 4. Вода в котле отопительной системы нагревается с 280 до 340 К. В котел поступает вода в количестве W = 45 м3/ч. Определить объем воды, выходящей из котла, если коэффициент температурного расширения воды βt = 0,0005 1/K. Задача 5. В открытые сообщающиеся сосуды (рис. 1) сначала была налита ртуть. Затем в один из сосудов была налита вода на высоту hв = 0,38 м, а в другой – бензин, причем верхние уровни воды и бензина совпали. Какова разность уровней ртути в сообщающихся сосудах h, если плотность ртути ρрm = 13600 кг/м3, плотность воды pв = 1000 кг/м3 и плотность бензина pб = 710 кг/м3?
Рис. 1 Задача 6. Определить разность уровней z в двух открытых сообщающихся сосудах (рис. 2), в один из которых налита ртуть, а в другой – ртуть и вода.
Рис. 2 Высота столба ртути над плоскостью раздела 0 – 0 h = 0,06 м. Плотность ртути ρрm = 13600 кг/м3, плотность воды pв = 1000 кг/м3. Задача 7. Определить высоту столбика h ртутного манометра, присоединенного к закрытому резервуару с водой (рис. 3). Давление на свободной поверхности воды р0 = 160 кПа. Точка присоединения трубки манометра расположена на глубине Н = 0,7 м от свободной поверхности. Плотность ртути ρрm = 13600 кг/м3, плотность воды pв = 1000 кг/м3.
Рис. 3 Задача 8. Смазочное масло хранится в резервуаре, показанном на рис. 4. Давление на свободной поверхности масла атмосферное. Определить глубину Н масла в резервуаре, если манометр М, присоединенный к нему, показывает давление pм = 19,6 кПа. Плотность масла рм = 870 кг/м3. Манометр присоединен на расстоянии а = 0,21 м от дна резервуара.
Рис. 4 Задача 9. Найти силу гидростатического давления воды на секторный затвор (рис. 5) и глубину погружения центра давления.
Рис. 5 Радиус затвора r = 4,2 м. Длина затвора β = 5,4 м. Угол α = 60°. Плотность воды pв = 1000 кг/м3. Задача 10. Дно резервуара с нефтью (рис. 6) имеет круглое отверстие, которое закрывается откидным клапаном диаметром d = 150 мм.
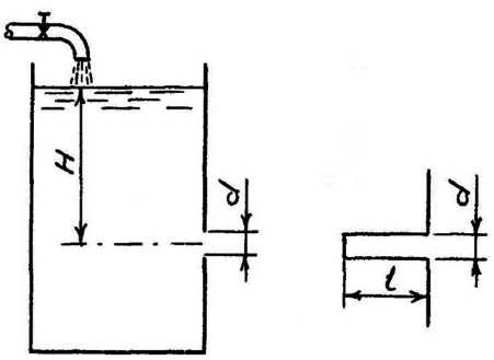
Рис. 6 Высота столба нефти в резервуаре Н = 2,6 м, плотность нефти ρн = 8З0 кг/м3. Определить усилие Т, которое необходимо приложить для открытия клапана. Давление на свободной поверхности нефти атмосферное. Задача 11. Для хранения бензина используется резервуар, имеющий фасонную часть в виде четверти поверхности цилиндра (рис. 7).
Рис. 7 Радиус цилиндра r = 0,85 м, длина образующей B = 1,5 м, высота столба бензина в резервуаре H = 2,1 м. Плотность бензина pб = 720 кг/м3. Определить силу гидростатического давления бензина на фасонную часть резервуара и глубину погружения центра давления. Задача 12. Определить силу гидростатического давления воды на плоскую наклонную прямоугольную стенку (рис. 8) шириной B = 2,6 м. Угол наклона стенки к горизонту α = 50°, глубина воды H = 1,5 м. Давление на свободной поверхности воды атмосферное.
Рис. 8 Найти глубину погружения центра давления. Построить эпюру избыточного гидростатического давления. Задача 13. Определить избыточное гидростатическое давления в точке В, находящейся на стенке равномерно вращающегося вокруг вертикальной оси цилиндрического сосуда с водой (рис. 9). Число оборотов сосуда n = 100 об/мин, диаметр сосуда D = 0,3 м. Расстояние от точки В до дна сосуда z = 0,15 м. Расстояние от точки С, находящейся на свободной поверхности воды, до дна сосуда z0 = 0,6 м.
Рис. 9 Задача 14. Определить режим движения воды в трубопроводе системы водяного охлаждения автомобильного двигателя. Диаметр трубопровода d = 30 мм. Расход воды Q = 5 л/с. Температура воды Т = 348 К. Найти также нижнюю критическую скорость. Задача 15. Регулирование подачи бензина в карбюратор мотора автомобиля производится с помощью шарового поплавка, который соединен с рычагом, укрепленным на шарнире 0 (рис. 10). В случае переполнения поплавковой камеры горючим поплавок поворачивает рычаг, благодаря чему игла перекрывает доступ горючего.
Рис. 10 Масса поплавка МП = 50 г, масса иглы МИ = 15 г, избыточное давление бензина на иглу р = 80 кПа. Расстояние от шарнира до оси иглы а = 40 мм; расстояние от оси иглы до центра поплавка в = 75 мм. Диаметр бензопровода d =5 мм. Плотность бензина pб = 780 кг/м3 Определить диаметр поплавка, исходя из условия, что в камере должен поддерживаться постоянный уровень бензина и поплавок в момент прекращения доступа бензина погружен наполовину. Массой рычага пренебречь. Задача 16. Определить режим движения воды в трубках радиатора автомобиля. Трубки имеют прямоугольное сечение 3×7 мм. Расход воды, пропускаемый каждой трубкой, Q = 22 см3/с. Температура воды Т = 342 К. Найти также нижнюю критическую скорость. Задача 17. Бензин из бака подается в карбюратор автомобиля по бензопроводу длиной l = 1,8 м и диаметром d = 10 мм. Расход бензина Q = 9,5 см3/с. Кинематический коэффициент вязкости бензина ν = 0,072 см2/с. Установить зону гидравлического сопротивления и определить потери напора по длине. Задача 18. Водопроводная труба диаметром d = 200 мм пропускает расход Q = 22,3 л/с. Температура воды Т = 285 К. Эквивалентная абсолютная шероховатость стенок трубы kэ = 0,01 мм. Определить толщину ламинарного слоя δсл, предварительно установив зону гидравлического сопротивления. Задача 19. По стальной трубе длиной l = 420 м и диаметром d = 125 мм перекачивается вода. Расход Q = 10 л/с. Температура воды T = 297 К. Эквивалентная абсолютная шероховатость стенок трубы kэ = 0,04 мм. Установить зону гидравлического сопротивления и определить потери напора по длине. Задача 20. По трубопроводу длиной l = 380 м и диаметром d = 200 мм перекачивает мазут. Расход Q = 3,8 л/с. Кинематический коэффициент вязкости мазута ν = 1,6 см2/с. Определить потери напора по длине, предварительно установив зону гидравлического сопротивления. Задача 21. Определить среднюю скорость потока во всасывающей линии насосной установки (рис. 11), если высота расположения насоса над поверхностью воды в колодце h = 4,8 м, абсолютное давление при входе в насос р = 36 кПа, длина всасывающей линии l = 80 м, ее диаметр d = 150 мм. Температура воды Т = 294 К, ее плотность pв = 1000 кг/м3. Коэффициент гидравлического трения λ = 0,054. Коэффициенты местных сопротивлений: ζсетки = 8,5; ζколена = 0,36; ζзадвижки = 0,94.
Рис. 11 Задача 22. Определить расход воды, пропускаемый самотечной трубой длиной l = 82 м и диаметром d = 175 мм (рис. 12). Разность уровней воды в колодцах Н = 4,4 м. Коэффициент гидравлического трения λ = 0,036. Коэффициенты местных сопротивлений: ζсетки = 9,0; ζвыхода = 1,0;
Рис. 12 Задача 23. Определить вакуум в насосе, забирающем воду из колодца и подающем ее в систему мойки автомобилей (рис. 13). Длина всасывающего трубопровода l = 72 м, диаметр d = 125 мм. Высота установки насоса над поверхностью воды в колодце h = 5,2 м. Расход воды Q = 45 л/с, температура воды T = 287 К, плотность воды pв = 1000 кг/м3. Коэффициент гидравлического трения λ = 0,047. Коэффициенты местных сопротивлений: ζсетки = 6,0; ζколена = 0,32; ζзадвижки = 4,2.
Рис. 13 Задача 24. Определить, при какой разности уровней воды в резервуарах Н (рис. 14) сифонный трубопровод длиной l = 92 м и диаметром d = 75 мм пропускает расход Q = 65 л/с. Коэффициент гидравлического трения λ = 0,064. Коэффициенты местных сопротивлений: ζсетки = 10,0; ζколена = 0,45; ζвыхода = 1,0.
Рис. 14 Задача 25. Определить время t полного опорожнения цилиндрического сосуда с керосином (рис 15 а). Диаметр сосуда D = 3,2 м. Напор в сосуде H = 3,5 м. Диаметр отверстия d = 12 см.
Рис. 15 Установить, как изменится это время, если к отверстию присоединить конический сходящийся насадок с углом конусности θ = 13°24' и длиной l = 4d (рис. 15 б). Задача 26. В днище сосуда, имеющего прямоугольную форму с размерами B = 1,8 м и L = 3,4 м, находится круглое отверстие, через которое происходит истечение нефти (рис. 16 a и б). Диаметр отверстия d = 6 см. Напор в сосуде Н1 = 4,1 м. Определить время t истечения нефти от напора Н1 до напора Н2 = 1,9 м. Установить, как изменится это время, если к отверстию присоединить внешний цилиндрический насадок длиной l = 3,8d (рис. 16 в).
Рис. 16 Задача 27. В боковой стенке сосуда имеется круглое отверстие диаметром d = 10 мм, через которое происходит истечение бензина (рис. 17 а). Определить, при каком напоре Н расход бензина, вытекающего из отверстия, будет равен Q = 1,2 л/с. Установить, как изменится этот напор, если к отверстию присоединить внутренний цилиндрический насадок длиной l = 3,5d (рис. 17 б).
Рис. 17 Задача 28. При исследовании истечения воды из круглого отверстия диаметром d = 15 мм в тонкой стенке измерены координаты струи x = 58,2 см и у = 4,5 см (рис. 18). Напор в сосуде Н = 2 м. Время t наполнения мерного бака емкостью W = 10 л составляет 32,8 с. Определить коэффициенты скорости φ, расхода 𝜇, сжатия ε и местного сопротивления ζ.
Рис. 18 Задача 29. Определить расход воды в трубопроводе, состоящем из трех последовательно соединенных труб разных диаметров (рис. 19), а также найти потери напора по длине на каждом участке. Напор Н = 5,8 м. Длина каждого участка l, диаметр трубы d и эквивалентная абсолютная шероховатость стенок kэ соответственно равны: – первого участка – l1 = 250 м, d1 = 150 мм, kэ = 0,2 мм; – второго участка – l2 = 180 м, d2 = 125 мм, kэ = 0,5 мм; – третьего участка – l3 = 190 м, d3 = 150 мм, kэ = 1,0 мм. Местными потерями напора пренебречь.
Рис. 19 Задача 30. Определить напор, который должен развивать насос, чтобы обеспечить подачу воды в заводские цехи, расположенные на горизонтальной площадке (рис. 20). В цех № 1 необходимо подать расход QА = 6 л/с, в цех № 2 – расход QВ = 8 л/с, в цех № 3 – расход QС = 10 л/c и в цех № 4 – расход QD = 7 л/с. Длина каждого участка l, диаметр трубы d и эквивалентная абсолютная шероховатость стенок kэ соответственно равны: – первого участка – l1 = 480 м, d1 = 250 мм, kэ = 0,5 мм; – второго участка – l2 = 590 м, d2 = 225 мм, kэ = 0,2 мм; – третьего участка – l3 = 390 м, d3 = 150 мм, kэ = 1,0 мм. – четвертого участка – l3 = 540 м, d3 = 125 мм, kэ = 0,5 мм. Местными потерями напора пренебречь.
Рис. 20 Задача 31. Участок напорного трубопровода длиной l = 410 м и диаметром d = 200 мм пропускает транзитный расход воды QТ = 18,6 л/с (рис. 21) и путевой расход Qп, причем удельный расход q = 0,05 л/с на 1 п. м. Эквивалентная абсолютная шероховатость стенок kэ = 0,2 мм. Определить потери напора по длине на данном участке трубопровода. Найти также расходы воды в сечениях, находящихся на расстояниях 1/3 l и 2/3 l от начала участка.
Рис. 21 Задача 32. Определить расход воды в трубопроводе, по которому подается вода из водонапорной башни в цех автомобильного завода (рис. 22). Длина трубопровода l = 810 м, диаметром d = 225 мм.
Рис. 22 Эквивалентная абсолютная шероховатость стенок kэ = 1,0 мм. Отметка земли у водонапорной башни 64,32 м, в районе завода – 60,15 м. Высота водонапорной башни Нб = 28,1 м. На заводе необходимо обеспечить напор h = 12,5 м. Местными потерями напора пренебречь. Установить, как изменится расход, если заменить трубопровод новым, имеющим эквивалентную абсолютную шероховатость стенок kэ = 0,2 мм.
ЗАДАНИЕ 2 Задача 1. Подсчитать напор насоса проектируемой насосной установки (рис. 23), если избыточное давление в приемном резервуаре p1 = 210 кПа, избыточное давление в напорном баке p2 = 700 кПа, геометрический напор Н1 = 28 м, потери напора на гидравлические сопротивления в трубопроводах hw = 18,4 м.
Рис. 23. Насос перекачивает нефть, плотность которой ρн = 876 кг/м3. Задача 2. При проектировании насосной установки (рис. 24) заданы следующие величины: производительность устанавливаемого насоса Q = 102 л/с, длина всасывающей линии lв = 84 м, диаметр всасывающей линии dв = 300 мм, длина нагнетательной линии lн = 245 м, диаметр нагнетательной линии dн = 250 мм, отметка расчетного уровня в приемном колодце 73,00 м, отметка уровня воды в напорном баке 117,60 м, коэффициент гидравлического трения λ = 0,052, коэффициенты местных сопротивлений: ζсетки = 9,0; ζколена = 0,32 ζкрана = 4,8. Определить напор насоса.
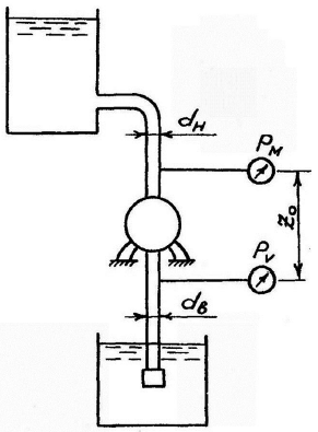
Рис. 24 Задача 3. Подсчитать напор насоса действующей насосной установки, если показание манометра рм = 580 кПа, показание вакуумметра pv = 52 кПа и вертикальное расстояние между точками присоединения измерительных приборов z0 = 0,42 м (рис. 25). Диаметры всасывающего и напорного трубопроводов равны между собой. Насос перекачивает керосин, плотность которого ρк = 850 кг/м3. Задача 4. Определить напор насоса действующей насосной установки, если известны следующие величины: показание манометра рм = 520 кПа, показание вакуумметра pv = 40 кПа, вертикальное расстояние между точками присоединения манометра и вакуумметра z0 = 0,46 м (рис. 25), производительность насоса Q = 160 л/с, диаметр всасывающего трубопровода dв = 250 мм, диаметр напорного трубопровода dн = 200 мм. Насос перекачивает мазут, плотность которого ρм = 950 кг/м3. Задача 5. Определить полезную мощность насоса по следующим данным: производительность насоса Q = 0,23 м3/с, показание манометра рм = 610 кПа, показание вакуумметра pv = 35 кПа, вертикальное расстояние Задача 6. Определить объемный КПД насоса, перекачивающего воду, если известны следующие величины: потребляемая насосом мощность N = 92,5 кВт, напор насоса Н = 58 м, теоретическая производительность насоса QТ = 104 л/с и полный КПД насоса η = 0,74. Плотность воды ρв = 1000 кг/м3. Задача 7. Определить полный, гидравлический, механический и индикаторный КПД насоса, если потребляемая им мощность N = 117 кВт, индикаторная мощность N1 = 100 кВт, напор насоса H = 210 м, производительность насоса Q = 32,2 л/с и объемный КПД насоса η0 = 0,83. Насос перекачивает нефть с плотностью ρн = 9З4 кг/м3.
Рис. 25 Задача 8. Определить потребляемую мощность насоса, перекачивающего бензин, если известны следующие величины: напор насоса Н = 42 м, теоретическая производительность насоса QТ = 12,8 л/с, объемный КПД насоса η0 = 0,83, полный КПД насоса η = 0,71. Плотность бензина ρб = 740 кг/м3. Задача 9. Определить теоретическую производительность QТ одноступенчатого центробежного насоса при следующих данных: внешний диаметр рабочего колеса D2 = 380 мм (рис. 26), ширина канала при выходе из колеса B2 = 28 мм, угол α2 = 8°, угол β2 = 32°, число оборотов вала n = 1500 об/мин. Задача 10. Определить действительный напор Н одноступенчатого центробежного насоса, если внутренний диаметр рабочего колеса D1 = 220 мм (рис. 26), внешний диаметр рабочего колеса D2 = 440 мм, угол α2 = 9°, угол β2 = 31°, гидравлический КПД насоса η = 0,88, число оборотов вала n = 1000 об/мин, скорость С1 = С0 = 3,5 м/с. Установить, как изменится напор насоса, если рабочее колесо будет вращаться с числом оборотов n' = 1200 об/мин.
Рис. 26 Задача 11. Определить теоретический напор НТ одноступенчатого центробежного насоса при следующих данных: внутренний диаметр рабочего колеса D1 = 210 мм (рис. 26), внешний диаметр рабочего колеса D2 = 420 мм, угол α2 = 10°, угол β2 = 25°, число оборотов вала n = 1450 об/мин, скорость С1 = С0 = 2,6 м/c. Задача 12. Определить действительную производительность Q одноступенчатого центробежного насоса, если внешний диаметр рабочего колеса D2 = 400 мм, ширина канала при выходе из колеса B2 = 20 мм, угол α2 = 15°, угол β2 = 40°, объемный КПД насоса η = 0,92, число оборотов вала n = 1000 об/мин. Установить, как изменится производительность насоса, если рабочее колесо будет вращаться с числом оборотов n' = 1450 об/мин. Задача 13. Центробежный насос развивает напор Н = 42 м. Производительность насоса Q = 22,5 л/с. Насос перекачивает нефть, плотность которой ρн = 850 кг/м3. Определить полезную мощность насоса NП. Задача 14. Центробежный насос при числе оборотов n = 900 об/мин развивает напор Н = 96 м. Производительность насоса Q = 28 л/с. Полный КПД насоса η = 0,78. Насос перекачивает мазут, плотность которого ρм = 886 кг/м3. Определить потребляемую насосом мощность N. Установить, как изменятся производительность, напор и потребляемая насосом мощность, если рабочее колесо будет вращаться с числом оборотов n' = 1200 об/мин. Задача 15. Определить число оборотов вала шестиступенчатого центробежного насоса, если напор, создаваемый им, Н = 250 м, внутренний диаметр рабочего колеса D1 = 160 мм (рис. 26), внешний диаметр рабочего колеса D2 = 320 мм, угол α2 = 11°, угол β2 = 29°, гидравлический КПД насоса η = 0,88, скорость С1 = С0 = 2,5 м/с. Задача 16. Определить число оборотов вала трехступенчатого центробежного насоса, если напор, создаваемый им, H = 132 м, внутренний диаметр рабочего колеса D1 = 180 мм (рис. 26), вне диаметр рабочего колеса D2 = 360 мм, угол α2 = 13°, угол β2 = 22°, гидравлический КПД насоса η = 0,89, скорость С1 = С0 = 3,7 м/с. Задача 17. Определить число оборотов коленчатого вала поршневого насоса четверного действия, имеющего производительность Q = 13,4 л/c. Диаметр поршня D = 150 мм, диаметр штока d = 35 мм, радиус кривошипа r = 80 мм и объемный КПД насоса η0 = 0,89. Задача 18. Определить производительность поршневого насоса дифференциального действия, если диаметр его поршня D = 200 мм, радиус кривошипа r = 60 мм, объемный КПД насоса η0 = 0,90 и число оборотов коленчатого вала n = 110 об/мин. Задача 19. Определить теоретическую производительность поршневого насоса тройного действия, если диаметр его поршня D = 180 мм, ход поршня S = 150 мм и число оборотов коленчатого вала n = 110 об/мин. Задача 20. Определить объемный КПД поршневого насоса двойного действия, имеющего производительность Q = 9,2 л/с. Диаметр поршня D = 150 мм, диаметр штока d = 40 мм, радиус кривошипа r = 100 и число оборотов коленчатого вала n = 70 об/мин. Задача 21. Определить производительность поршенькового насоса аксиального типа при следующих данных: диаметр поршеньков d = 25 мм, их число расстояние между осями поршеньков l = 10 см, угол наклона диска к горизонту α = 25°, объемный КПД насоса η0 = 0,88 и число оборотов Задача 22. Определить число оборотов вала поршенькового насоса радиального типа, если его производительностью Q = 88 л/мин, диаметр поршеньков d = 20 мм, их число z = 12, расстояние между осями ротора и статора (эксцентриситет) е = 16 мм и объемный КПД насоса η0 = 0,93. Задача 23. Определить диаметр начальной окружности шестерни DН Задача 24. Определить число оборотов ротора пластинчатого насоса n, необходимое для обеспечения заданной производительности Q = 820 л/мин, если радиус внутренней поверхности статора R = 100 мм, ширина пластин b = 25 мм, толщина пластин δ = 4 мм, их число z = 6, расстояние между осями ротора и статора (эксцентриситет) e = 15 мм и объемный КПД насоса η0 = 0,85. | |||||||||||||||||||||||||||||||||||||||||||||||||||||||||||||||||||||||||||||||||||||||||||||||


























