| Общая информация » Каталог студенческих работ » ТЕХНИЧЕСКИЕ ДИСЦИПЛИНЫ » Гидравлика |
| 10.12.2025, 17:10 | ||||||||||||||||||||||||||||||||||||||||||||||||||||||||||||||||||||||||||||||||||||||||||||||||||||
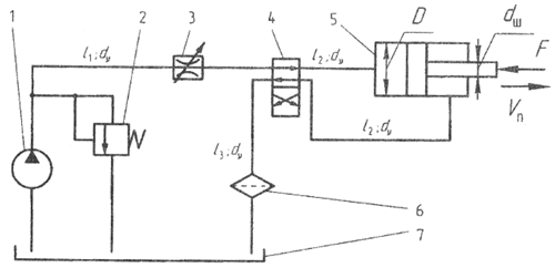
В большинстве случаев гидропривод представляет собой сложный трубопровод с насосной подачей, поэтому его уточненный расчет рекомендуется выполнять графоаналитическим методом. Этот расчет следует проводить для основных установившихся режимов работы гидропривода с целью проверки выполнения им технических требований, приведенных в техническом задании на проектирование. При этом рекомендуется следующая последовательность действий. На первом этапе принятую принципиальную схему гидропривода следует заменить расчетной, в которой отмечается каждое гидравлическое сопротивление (в том числе и гидродвигатели), участвующее в расчете. На этом же этапе полученная схема разбивается на простые трубопроводы (под простым трубопроводом понимается трубопровод без разветвлений). Второй этап заключается в построении характеристики насосной установки в координатах р - Q. На третьем этапе составляются аналитические уравнения потерь для каждого из простых трубопроводов, входящих в расчетную схему. Четвертый этап. На основании полученных на втором этапе аналитических уравнений потерь для каждого из простых трубопроводов, входящих в расчетную схему, на графике строят характеристики простых трубопроводов. Затем, используя правила сложения характеристик простых трубопроводов, получают суммарную характеристику сложного трубопровода. Завершающим действием этого этапа является определение рабочей точки гидросистемы (точки пересечения характеристики насоса и суммарной характеристики сложного трубопровода). Ее координаты используются при расчете потребляемой гидроприводом мощности. Таким образом, в результате уточненного расчета могут быть определены все эксплуатационные параметры гидропривода, характеризующие его работу на наиболее важных установившихся режимах. В случае несоответствия полученных величин техническому заданию необходимо внести коррективы в схему гидропривода или изменить параметры его элементов. ИСХОДНЫЕ ДАННЫЕ На рис. 1 представлена упрощенная схема объемного гидропривода возвратно-поступательного движения. Объемный насос 1 с переливным клапаном 2 образует насосную установку, которая подает рабочую жидкость из бака 7 в гидроцилиндр 5, обеспечивающий движение поршня. Скорость движения поршня Vп регулируется за счет изменения проходного сечения регулируемого гидродросселя 3, а реверс движения достигается за счет гидрораспределителя 4. Для очистки рабочей жидкости в систему включен фильтр 6.
Рис. 1. Схема гидропривода возвратно-поступательного движения Дано: – усилие на штоке поршня F (см. табл. 1); – размеры гидроцилиндра: D, dш; – параметры трубопроводов: dт, l1 = 3 м, l2 = 1,5 м, l3 = 4 м; – фильтр и каждый канал гидрораспределителя заданы эквивалентными длинами: lэф = 200dт, lэр = 150dт; – гидродроссель задан площадью проходного сечения Sдр, и коэффициентом расхода mдр = 0,7; – параметры насоса: рабочий объем Wн = 10 см3, частота вращения вала nн, объемный КПД hон = 0,85 при p = 7 МПа, механический КПД hмн = 0,9; – характеристика переливного клапана: рк min=5 МПа при Qкл=0 и Kk; – параметры рабочей жидкости: кинематическая вязкость n=0,2 см2/с и плотность r=800 кг/м3. Таблица 1 Исходные данные к контрольной задаче для разных вариантов
Требуется определить: – скорость движения штока гидроцилиндра; – мощность, потребляемую гидроприводом; – коэффициент полезного действия гидропривода. Контрольно-курсовая работа содержит: пояснительную записку в объеме 6 – 10 листов формата А4 с полуторным интервалом, размер шрифта 14 пт. | ||||||||||||||||||||||||||||||||||||||||||||||||||||||||||||||||||||||||||||||||||||||||||||||||||||

