| Общая информация » Каталог студенческих работ » ТЕХНИЧЕСКИЕ ДИСЦИПЛИНЫ » Начертательная геометрия и инженерная графика |
| 30.01.2026, 20:36 | ||||||||||||||||||||||||||||||||||||||||||||||||||||||||||||||||||||||||||||||||||||||||||||||||||||||||||||||||||||||||||||||||||||||||||||||||||||||||||||||||||||||||||||||||||||||||||||||||||||||||||||||
Контрольная работа содержит четыре части. Каждая часть выполняется на одном формате А3, т.е. всего потребуется четыре листа такого формата. Задание 1 (лист № 1 – Виды и аксонометрия модели). По виду сверху модели (горизонтальной проекции) построить недостающие виды: спереди и слева; выполнить одну любую из стандартных аксонометрий. Модель состоит из двух геометрических тел: – варианты 1–5 – цилиндр и пирамида; пирамида стоит на верхнем основании цилиндра и касается его своим основанием; высота цилиндра – 30 мм, пирамиды – 70 мм; – варианты 6–10 – призма и круговой конус: конус стоит на верхнем основании призмы и касается ее своим основанием; высота призмы – 30 мм, конуса – 70 мм. Основаниями пирамиды и призмы в соответствии с номерами вариантов являются либо квадрат, либо правильный треугольник, которые вписаны в окружность диаметром 100 мм. Индивидуальные данные по вариантам к заданию 1 приведены в табл. 4.1. Пример оформления задания 1 представлен на рис. 4.1. Таблица 4.1 – Варианты задания 1
Рисунок 4.1 - Пример выполнения листа №1 Указания к выполнению задания 1 В табл. 4.1 для каждого варианта задана только горизонтальная проекция модели (вид сверху). Здесь указано несколько характерных точек, которые также необходимо построить на фронтальной (вид спереди) и профильной (вид слева) проекциях. Перед началом построения проекций (видов) необходимо определить по заданному виду сверху, сколько углов в основании пирамиды (или призмы) и как они расположены. Построив заданный вид сверху, строится вид спереди и вид слева в проекционной связи. Указанные пронумерованные точки необходимо проставить на всех видах. Линии построений следует сохранить. Размеры, по которым выполнялись построения можно не указывать. Построение аксонометрической проекции (аксонометрии) выполняется в соответствии с ГОСТ 2.317–2011. На рис. 4.1 построена прямоугольная изометрия (углы между аксонометрическими осями равны 120°; коэффициенты искажения по всем трем осям равны, и приняты равными 1). Построение аксонометрии осуществляется по построенным ортогональным проекциям (видам): именно с видов берутся расстояния до характерных точек, как координаты, и откладываются по соответствующим аксонометрическим осям. В изометрической проекции рис. 4.1 основания цилиндра или конуса изображаются в виде эллипсов. Построенные точки должны иметь нумерацию, соответствующую нумерации этих точек на всех трех видах. Полученные точки на аксонометрии необходимо последовательно соединить, учитывая видимость элементов изображения.
Задание 2 (лист № 2 – Виды и разрезы). По двум заданным видам предмета (условная деталь) построить третий вид. Выполнить горизонтальный, фронтальный и профильный разрезы, совместив их с соответствующими видами. Проставить необходимые размеры. Индивидуальные данные к заданию 2 взять согласно своему варианту в табл. 4.2. Пример оформления задачи представлен на рис. 4.2. Указания к выполнению задания 2 В табл. 4.2 для каждого варианта заданы два вида и нанесены необходимые размеры. Прежде чем приступить к решению задачи, следует изучить ГОСТ 2.305–2008 «Изображения – виды, разрезы, сечения», а также правила нанесения размеров по ГОСТ 2.307–2011.
Рисунок 4.2 - Пример выполнения листа 2 Таблица 4.2 – Варианты задания 2
Последовательность выполнения чертежа следующая. 1. На формат А3 перечертить в тонких линиях заданные виды и построить вид слева. В основе чтения чертежа лежит умение студента по двум изображениям предмета, рассматривая их одновременно, «видеть» предмет со всех сторон. При построении третьего изображения нужно сначала хорошо представить себе форму детали в целом, выяснить, какие простейшие геометрические тела составляют данную деталь, мысленно расчленить деталь на составляющие ее части, представить себе, как эти геометрические тела будут изображаться на отсутствующей третьей проекции. 2. Проанализировать невидимые контуры и установить, что для выявления внутреннего строения нужны горизонтальный, фронтальный и профильный разрезы. Все изображения симметричны, следовательно, нужно соединять половины видов с половинами соответствующих разрезов. Однако следует учитывать следующее обстоятельство: если при мысленном соединении вида и разреза на их границе (осевой линии) попадает реброгранной поверхности, то следует провести линию «обрыва» (волнистую линию), так как ребро не может быть границей вида и разреза (ГОСТ 2.305–2011). 3. Построить три простых разреза, рационально совмещая их с видами. При необходимости следует отметить положение секущей плоскости и обозначить разрез (на рис. 4.2 показано А–А). 4. Нанести необходимые размеры. При нанесении размеров элементов предмета используется то изображение, на котором геометрическая форма показана наиболее полно. Размеры на чертеже должны быть на всех изображениях, но не повторяться. 5. Проверить правильность выполнения чертежа, убрать лишние линии, обвести чертеж, заполнить основную надпись.
Задание 3 (лист № 3 – Условное изделие). Задание предусматривает выполнение на формате А3 чертежа условного изделия: резьбовых соединений двух деталей: корпуса с крышкой (соединение болтом и соединение шпилькой). Чертеж должен содержать два изображения: вид спереди, на котором выполняется фронтальный разрез, и вид сверху. Прежде чем приступить к выполнению задания, следует изучить ГОСТ 2.311–68 «Изображение резьбы» и ГОСТ 2.315–68 «Изображения упрощенные и условные крепежных деталей». Указания к выполнению задания 3 Исходным материалом для выполнения чертежа условного изделия служит рис. 4.3, на котором изображены корпус (позиция 1) и крышка (позиция 2). Эти детали скреплены между собой резьбовыми стандартными изделиями: соединение болтом и соединение шпилькой. Соединение болтом в себя включает: болт (позиция 3), шайба (позиция 4), гайка (позиция 5). Эти позиции объединены одной выноской, так как данные крепежные стандартные изделия образуют одну функциональную группу. Соединение шпилькой также включает в себя аналогичные стандартные изделия: шпилька (позиция 6), шайба (позиция 7) и гайка (позиция 8). Следует знать, что стандартные изделия, которые выполняют функцию крепежа, в соответствии с ГОСТ 2.109–73 «Основные требования к чертежам», могут выполняться упрощенно. Поэтому целью выполнения данного чертежа является изучение приобретение навыка в выполнении упрощенного изображения резьбовых стандартных изделий в требуемом соединении деталей между собой. Последовательность выполнения чертежа: – в соответствии с заданным вариантом вычертить контуры вида спереди и вида сверху корпуса и крышки с нанесением осевых и центровых линий под отверстия для болта и шпильки (рис. 4.3). Размеры для этих деталей по вариантам приведены в табл. 4.3; – для выполнения чертежа необходимо вместо полного изображения крепежных изделий вычертить их упрощенное изображение.
Рисунок 4.3 – Соединение корпуса 1 с крышкой 2 при помощи болта и шпильки (полное изображение) Таблица 4.3 – Размеры для выполнения изображений корпуса и крышки
Полное и упрощенное изображения болта, шпильки, гайки и шайбы приведены соответственно на рис. 4.4–4.7.
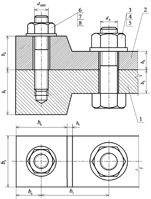
С учетом рисунков 4.4–4.7 пример чертежа упрощенного изображения соединения шпилькой и болтом представлен на рис. 4.8. Для построения такого чертежа, кроме размеров, представленных в табл. 4.3, необходимо знать размеры крепежных изделий, основными из которых являются диаметр резьбы d, т.е. болта dБ , шпильки dШП и их длина l . Остальные размеры этих и других крепежных изделий (гайки, шайбы) высчитываются как функции диаметров болта (шпильки). В табл. 4.4 кроме диаметров болта и шпильки указан также материал соединяемых деталей (материал, из которого изготовлены корпус и крышка), что очень важно при соединении деталей шпилькой.
Рисунок 4.8 – Чертеж упрощенного изображения соединения шпилькой и болтом Таблица 4.4 – Диаметры болта, шпильки и материала корпуса и крышки
Задание 4 (лист № 4). В соответствии с номером варианта на рис. 4.12–4.21 даны чертежи изделий (сборочные единицы). Задание предусматривает выполнение (формат А3) чертежа одной детали сборочной единицы. В этом случае употребляется термин деталирование. Прежде чем приступить к деталированию, следует изучить ГОСТ 2.101–68 «Виды изделий», ГОСТ 2.102–2013 «Виды и комплектность конструкторских документов», ГОСТ 2.109–73 «Основные требования к чертежам», ГОСТ 2.309–73 «Обозначения шероховатости поверхностей» и повторить ГОСТы ЕСКД на основе которых выполнялись чертежи предыдущих заданий. В табл. 4.6 в соответствии с вариантом указаны номера рис. 4.12–4.21, чертежей ВО, с которых необходимо выполнить деталирование, т.е. разработать чертеж детали на формате А3. Номер детали определяется по номеру позиции, которая указана на горизонтальной полочке, снабженной выносной линией, исходящей от данной детали на чертеже ВО, а также в спецификации в колонке «Поз.» (как это выполнялось в предыдущем задании). Таблица 4.6 – Варианты для разработки чертежа детали
Перед разработкой чертежа детали необходимо выполнить чтение чертежа ВО указанного варианта. Под чтением чертежа ВО понимается следующее: – знакомство со сборочной единицей (наименование, назначение и принцип действия, а в соответствии с габаритными размерами, представить ее натуральный вид); – изучение всех изображений на чертеже ВО сборочной единицы (определить главное изображение, количество и наименование остальных изображений: виды, разрезы как основные, так и дополнительные и местные, имеются ли на чертеже сечения); – изучение по чертежу ВО и спецификации составных частей сборочной единицы (детали оригинальные и детали со стандартным изображением, стандартные изделия, материалы, из которых получены сальниковые уплотнения и прокладки, другие сборочные единицы, которые входят в состав основной сборочной единицы), их наименование, назначение, вида соединения с другими составными частями; – определение положения всех деталей на каждом изображении чертежа ВО; – выяснение геометрических форм каждой детали, как правило, композиции форм и материала, из которых они изготовлены, возможный способ изготовления (литье, точение, фрезерование, сверление и т.д.); – установить к какому виду относятся проставленные на чертеже ВО размеры (габаритные, присоединительные, эксплуатационные, монтажные или установочные); – определить порядок разборки сборочной единицы и ее сборки. В пояснительной записке задания необходимо отразить чтение чертежа ВО своего варианта. Для выполнения чертежа детали в соответствии с табл. 4.6 необходимо более подробно описать процесс чтения и деталирования по отношению к этой детали: – после знакомства с наименованием, материалом и формой детали, установить те ее поверхности, которые сопрягаются с другими деталями (рабочие) и поверхности свободные от других деталей; – установить какой вид соединения (сопряжения) рабочих поверхностей с поверхностями других деталей, возможно сопряжение поверхностей происходит при движении, т.е. при перемещении деталей относительно друг друга, или поверхности просто скреплены друг с другом, установить вид соединения; – принять решение по выбору главного изображения детали, которое наиболее полно отображает форму и размеры детали, т.е. несет максимум информации об изделии; детали, основной объем которых составляет поверхность вращения, или которую обрабатывали на токарном станке, необходимо на главном изображении ось вращения располагать горизонтально; детали, которые имеют «привалочные» плоскости (прилегают друг к другу по плоскости) необходимо также располагать горизонтально; – проанализировать необходимость вычерчивания других изображений (видов, разрезов, сечений и выносных элементов) и возможной их проекционной связи; число таких изображений должно быть минимальным (может быть даже и вовсе отсутствовать, т.е. достаточно одного главного изображения), но вполне достаточным, чтобы можно было изготовить данную деталь, проанализировать возможность соединения вида и разреза; – принять решение по выбору масштаба изображения (ГОСТ 2.302–68), не забывая, что выполненный чертеж детали должен занимать около 75% свободного поля формата чертежа (А3); сечения могут быть выполнены более крупно, выносные элементы еще с большим масштабом по отношению к главному изображению; – исследовать возможную компоновку изображений на поле чертежа, учитывая «припуски» изображений, необходимые для нанесения размерных линий и размерных чисел, а также шероховатости поверхностей детали и технических требований (эти требования размещают над основной надписью чертежа); – вычерчивать деталь, начиная с основного объема главного изображения тонкими линиями, завершать вычерчивания выносными элементами; – при нанесении размерных линий учитывать (не зависимо от масштаба изображений), что расстояние от линии контура изображения до первой параллельной ей размерной линии должно быть не менее 10 мм, между последующими параллельными размерными линиями – не менее 7 мм (ГОСТ 2.307–2011); – для простановки размеров следует учитывать, что размерные числа наносятся действительные, т.е. без учета масштаба изображения детали; так как на чертеже ВО указываются не все размеры, то действительные размеры детали необходимо определять по масштабному коэффициенту чертежа; – нанесение шероховатости поверхностей производить в соответствии с ГОСТ 2.309–73. Пример чертежа детали (штуцер, поз. 2, в соответствии с рис. 4.12): – штуцер изготовлен из литейной стали марки 15Л ГОСТ 977–89; наружная поверхность: круговой цилиндр диаметром 30 мм, длиной 11 мм нерабочая поверхность); шестигранная призма с размером под ключ 36 мм и длиной 13 мм, с конической фаской под углом 30 градусов (не рабочая поверхность); круговой цилиндр диаметром 62 мм, длиной 8 мм (не рабочая поверхность кроме фланцевой части, которая имеет привалочную плоскость с корпусом через прокладку, поз. 10), круговой резьбовой цилиндр (М50, резьба с мелким шагом 1,5 мм), длиной 15 мм (рабочая поверхность, ввинчивается в корпус поз. 1), имеет коническую фаску; внутренняя часть штуцера имеет две рабочие поверхности: круговой цилиндр с резьбой М 22 и мелким шагом 1 мм, в которую вкручивается втулка сальника (поз. 3), поджимая сальник (пенька, поз. 14) и круговой цилиндр с резьбой М16 (шаг крупный, 2 мм), который имеет коническую фаску (для удобства ввинчивания штока, поз.5) и укладки кольца сальника (поз. 8); – так как штуцер обрабатывался на токарном станке, то ось симметрии его на главном изображении располагается горизонтально; это изображение представлено соединением главного вида и фронтального разреза; – вид слева представлен из-за шестигранной части (показан «размер под ключ»); в свободном месте чертежа выполнен выносной элемент проточки на цилиндрической резьбе М50×1,5; – принят масштаб чертежа 2:1 (указан в основной надписи), выносной элемент выполнен в масштабе 4:1; масштабный коэффициент рассчитан и равен 0,31; – размерные линии нанесены с учетом ГОСТ 2.307–2011; – технические требования расположены над основной надписью; – шероховатость поверхностей указана для резьбовых соединений; свободные поверхности имеют одинаковую шероховатость, но каким способом достигается представленная шероховатость – не указывается (ГОСТ 2.309–73). | ||||||||||||||||||||||||||||||||||||||||||||||||||||||||||||||||||||||||||||||||||||||||||||||||||||||||||||||||||||||||||||||||||||||||||||||||||||||||||||||||||||||||||||||||||||||||||||||||||||||||||||||












